数十年磁力泵、离心泵、自吸泵制造厂家

全国咨询热线

136-2518-2808

FS103塑料自吸泵

一、产品概述 103塑料自吸泵是一种耐腐蚀塑料自吸泵,其体积小、效率高,形状美观、结构合理,质量可靠、使用方便。103泵的自吸功能克服了塑料泵因断水、未加引水、引起密封件发热烧坏塑料件的致命缺点,大大提高了泵的使用寿命。103泵过流部件采用ABS、PP等塑料适用于食物净水、化工等行业,数十年来一直是水处理,是化工等行业所必须的配套设备。 二、产品特点 产品结构较、体积小、重量轻、
联系电话:136-2518-2808

产品详情

  一、产品概述  



103塑料自吸泵是一种耐腐蚀塑料自吸泵,其体积小、效率高,形状美观、结构合理,质量可靠、使用方便。103泵的自吸功能克服了塑料泵因断水、未加引水、引起密封件发热烧坏塑料件的致命缺点,大大提高了泵的使用寿命。103泵过流部件采用ABS、PP等塑料适用于食物净水、化工等行业,数十年来一直是水处理,是化工等行业所必须的配套设备。


 

  二、产品特点   


 
 
产品结构较、体积小、重量轻、耗电省、耐酸碱、密封好、维修方便;
 
 

  三、应用范围   



 

广泛应用于化工、食品、酿造、制药、电镀、造纸、环保、水 处理等部门,输送酸、碱、盐等腐蚀性液体。



  四、产品参数   


 

 

口径(进口/出口):20-65/15-50(mm)

 

流量:1-25(m3/h)

 

 


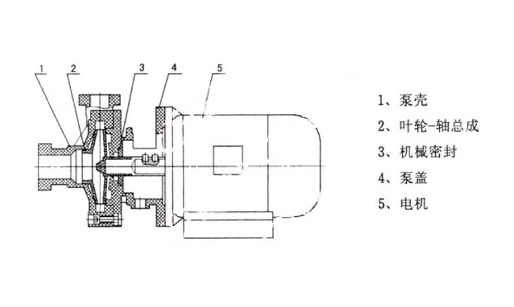
   五、产品结构图  



FS103塑料自吸泵结构图.jpg


   六、选型参数表  



表格35.png


   七、订货说明  



订货须知:

一、您在订购产品时需提供流量(Q)、扬程(H)、及介质等。并指出介质的易燃性、易爆性、毒性、腐蚀性、结晶性及是否允许封液渗入介质内。
二、若您对原动机有特殊要求时,应说明应用现场条件,环境温度、安装地点及类别(防爆、防火等要求)电压大小等。
三、当使用的场合非常重要或环境比较复杂时,请您尽量提供设计图纸和详细参数,由我们沁泉泵阀的技术专家为您审核把关。
四、泵经过长期运行后性能有显著下降时应拆机检查,并更换易损件(轴承、叶轮、叶轮密封环、导叶套、轴封等)。机组大修期一般为一年。
五、泵每运行500小时应对轴承进行加油。
六、配填料型密封而产生的漏水属正常现象。


   八、安装注意事项  



 


注意事项:1

应往轴承箱内加注润滑油,油量应控制于油窗中间水平面。

注意事项:2

开车前用手盘动联轴器,有无在安装过程中产生卡死现象如有碰擦异常应予消除。


注意事项:3

起动前先接通冷却冲洗液,停车时应先停车再关闭冷却冲洗液。

注意事项:4

冷却冲洗液必须是干净的不结垢的软水,因此对新安装的管路和储蓄罐应冲洗干净。防止有固体物质进入机械密封影响密封效果和寿命。易结垢的水质会堵塞冷却冲洗液通路。同样会影响密封的使用效果和寿命。

 

注意事项:5

冷凝水作密封冲洗液效果是理想的,温度<85℃。


注意事项:6

却冲洗液的压力为0.1~0.3MPa,流量为0.63m3/h,流量过小会影响密封的使用寿命。

查看更多 >>

产品推荐

热销产品:

  • 磁力泵、离心泵、自吸泵、液下泵等产品
  • 136-2518-2808
    Baidu
    map